FONCTION : :ALIMENTATION CARBURANT :

POUR 1CN6 ET DVY01 ET B0F2X ET DEPUIS O 8211 OU JUSQU'A O 8687 OU

POUR 1CN7 ET DVY01 ET B0F2X ET DEPUIS O 8688 OU

POUR 1CN8 ET DVY01 ET B0F2X ET DEPUIS O 8365 OU

POUR 1CU6 ET DVY01 ET B0F7C ET DEPUIS O 8276 OU

POUR 1CX4 ET DVY01 ET B0F7C ET DEPUIS O 8688 OU

POUR 1CX4 ET DVY01 ET B0F2X ET DEPUIS O 8688 OU

POUR 1C2X ET DVY01 ET B0F7C ET DEPUIS O 8001 OU

POUR 1C6N ET DVY01 ET B0F2X ET DEPUIS O 8365 OU

POUR 2CM4 ET DVY01 ET B0F2X ET DEPUIS O 8358 OU

POUR 2CU6 ET DVY01 ET B0F7C ET DEPUIS O 8421 OU

POUR 2CU6 ET DVY01 ET B0F7U ET DEPUIS O 8421


1 - Synoptique

Fig : B1HP10QP

Fig : B1HP10QP

Légende :
  • ACircuit retour réservoir.
  • BCircuit basse pression carburant.
  • CCircuit haute pression carburant.

  • Repère Désignation Numéro de pièce dans les schémas électriques
    1 à 4 Injecteurs diesel (électrohydraulique) 1131
    1132
    1133
    1134
    5 Rampe d'injection commune haute pression carburant -
    6 Sonde de température carburant 1221
    7 Capteur haute pression carburant 1321
    8 Refroidisseur de carburant -
    9 Préfiltre à carburant -
    10 Pompe de gavage (basse pression) 1211
    11 Réservoir à carburant -
    12 Filtre à carburant + décanteur d'eau + régulateur de pression du circuit basse pression -
    13 Vis de purge d'eau -
    14 Réchauffeur de carburant -
    15 Pompe haute pression carburant -
    16 Régulateur haute pression carburant sur pompe haute pression carburant 1322
    17 Désactivateur du 3ème piston de pompe haute pression carburant 1208-6

    2 - Réservoir à carburant

    Le réservoir à carburant est identique à celui des versions diesel classiques.

    3 - Pompe de gavage (basse pression) (1211) (1211)

    3.1 - Rôle.

    Rôle de la pompe de gavage :
  • Alimentation en carburant de la pompe haute pression.
  • Fournir la pression nécessaire dans le circuit basse pression.

  • 3.2 - Description.

    Fig : B1HP10RC

    Fig : B1HP10RC

    Fournisseur BOSCH (EKP3).

    a :sortie carburant.

    b :entrée carburant.

    La pompe de gavage, immergée dans le réservoir se compose des éléments suivants :
  • (18)Moteur à courant continu.
  • (19)Pompe à rouleaux.
  • (20)Rotor.
  • (21)Clapet de sécurité.


  • NOTA : Tarage du clapet de sécurité : ð 7 bars.
    La pompe de gavage est alimentée en 12 volts par le relais double d'injection dans les cas suivants :
  • Dès la mise du contact, durant 2 à 3 secondes.
  • Moteur tournant.

  • 3.3 - Particularités électriques.

    Commande :
  • Calculateur d'injection.
  • Relais double injection.

  • Affectation des voies du connecteur :
  • Voie 1 :Signal niveau de carburant.
  • Voie 2 :Alimentation pompe de gavage( + 12 volts).
  • Voie 3 :Libre.
  • Voie 4 :Masse pompe de gavage.
  • Voie 5 :Masse jauge à carburant.

  • 3.4 - Implantation.

    Fig : B1HP10SC

    Fig : B1HP10SC

    (10) pompe de gavage (basse pression).

    (22) flotteur de jauge à carburant.

    La pompe de gavage est intégrée au module jauge/pompe.

    Le module jauge/pompe est implanté dans le réservoir à carburant et intègre :
  • Un préfiltre à carburant( 300 microns).
  • La fonction jaugeage, et la fonction autonomie carburant(suivant version).

  • 4 - Filtre à carburant -Élément thermostatique

    4.1 - Filtre à carburant :rôle.

    Rôle du filtre à carburant :
  • Filtrage du carburant (seuil de filtration 5 microns).
  • Décantation de l'eau.
  • Contrôle du réchauffage du carburant(élément thermostatique).
  • Contrôle de la pression du circuit carburant basse pression(régulateur de basse pression intégré).

  • 4.2 - Filtre à carburant :description.

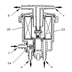
    Fig : B1HP10TC

    Fig : B1HP10TC

    Sens de circulation du carburant (suivant flèches).

    (23) régulateur de basse pression.

    (24) élément thermostatique.

    (25) élément filtrant.

    c :retour réservoir à carburant.

    d :entrée carburant réchauffé. (boîtier de sortie d'eau).

    e :sortie carburant. (vers boîtier de sortie d'eau).

    f :entrée carburant.

    g :sortie carburant. (vers pompe haute pression carburant).

    Le régulateur basse pression contrôle la pression de carburant dans le circuit basse pression.

    Pression du circuit : ð 2,5 bars.

    Filtre à carburant :
  • Périodicité de remplacement :Tous les 60 000 km.
  • Purge :Tous les 20 000 km.


  • NOTA : Après un échange de filtre à carburant, la purge des circuits haute pression et basse pression est automatique.

    4.3 - Élément thermostatique :rôle.

    À froid, l'élément thermostatique dévie une partie du carburant vers le réchauffeur de carburant.

    À chaud, l'élément thermostatique interdit le réchauffage du carburant.

    4.4 - Élément thermostatique :description.

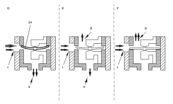
    Fig : B1HP10UD

    Fig : B1HP10UD

    Sens de circulation du carburant (suivant flèches).

    D .température carburant inférieure à 15 °C.

    E .température carburant comprise entre 15 et 25 °C.

    F .température carburant supérieure à 25 °C.

    e :sortie carburant. (vers boîtier de sortie d'eau).

    f :entrée carburant.

    g :sortie carburant. (vers élément filtrant).

    (24) élément thermostatique.

    L'élément thermostatique est constitué d'un bilame qui se déforme en fonction de la température du carburant.

    D .Température carburant inférieure à 15 °C :
  • L'élément thermostatique est décollé de son siège.
  • Le passage direct vers le filtre est fermé.
  • Le carburant est réchauffé au contact du boîtier de sortie d'eau.

  • E .Température carburant comprise entre 15 et 25 °C :
  • L'élément thermostatique est partiellement décollé de son siège.
  • Une partie du carburant est réchauffée.

  • F .Température carburant supérieure à 25 °C :
  • L'élément thermostatique est en appui sur son siège.
  • Le carburant passe directement vers l'élément filtrant.

  • 5 - Réchauffeur de carburant

    5.1 - Rôle.

    Le réchauffeur de carburant amène le carburant à sa température d'utilisation.

    5.2 - Description.

    Le réchauffeur de carburant réchauffe le carburant dévié par l'élément thermostatique (filtre à carburant).

    Le réchauffeur de carburant est constitué d'un tube plongé dans le liquide de refroidissement moteur.

    L'échange thermique est réalisé entre le liquide de refroidissement et le carburant.

    5.3 - Implantation.

    Fig : B1GP077C

    Fig : B1GP077C

    (14) réchauffeur de carburant.

    Implantation :dans le boîtier de sortie d'eau.

    Il existe 2 types de montage :
  • Boîtier de sortie d'eau métallique :Le réchauffeur est intégré au boîtier de sortie d'eau.
  • Boîtier de sortie d'eau plastique :Le réchauffeur est fixé sur le boîtier de sortie d'eau.

  • 6 - Pompe haute pression carburant

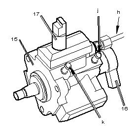
    Fig : B1HP10VC

    Fig : B1HP10VC

    (15) pompe haute pression carburant.

    (16) régulateur haute pression carburant.

    (17) désactivateur du 3ème piston de pompe haute pression carburant.

    h :sortie haute pression carburant. (vers la rampe d'injection commune).

    j :retour réservoir à carburant.

    k :alimentation carburant.

    Rôle de la pompe haute pression carburant ( BOSCH type CP1 à 3 pistons) :
  • Fournir la haute pression carburant.
  • Alimenter les injecteurs diesel au travers de la rampe d'injection commune haute pression.

  • La pompe haute pression carburant est entraînée par la courroie de distribution (rapport d'entraînement 0,5).


    NOTA : Le carburant non utilisé retourne au réservoir au travers du refroidisseur de carburant.

    La haute pression carburant varie entre 200 et 1350 bars.

    La haute pression carburant est contrôlée par le régulateur haute pression carburant.

    Au démarrage du moteur, après 1,5 tour moteur, la pression fournie par la pompe atteint 200 bars.


    NOTA : La pompe haute pression n'est pas une pompe distributrice et ne nécessite pas de calage.
    Le désactivateur du 3ème piston de pompe haute pression carburant permet de réduire :
  • La cylindrée de la pompe haute pression carburant.
  • La puissance absorbée par la pompe haute pression carburant.

  • 7 - Désactivateur du 3ème piston de pompe haute pression carburant (1208-6) (1208-6)

    7.1 - Rôle.

    Diminuer la puissance absorbée par la pompe haute pression en cas d'utilisation du véhicule en faible charge.

    Pendant la commande de cet élément le volume de carburant refoulé diminue ce qui permet de réduire :
  • La puissance absorbée par la pompe haute pression carburant.
  • L'échauffement du carburant (moins de laminage).


  • NOTA : Si la température carburant dépasse 106 °C, la pompe haute pression carburant ne fonctionne plus que sur 2 pistons.

    7.2 - Implantation.

    Implantation :sur pompe haute pression carburant.

    8 - Régulateur haute pression carburant (1322) (1322)

    8.1 - Rôle.

    Le régulateur haute pression carburant permet de réguler la pression de carburant en sortie de pompe haute pression carburant.

    8.2 - Implantation.

    Implantation :sur pompe haute pression carburant.

    9 - Rampe d'injection commune haute pression carburant

    9.1 - Rôle.

    Rôle de la rampe d'injection commune haute pression carburant :
  • Stocker la quantité de carburant nécessaire au moteur quelle que soit la phase d'utilisation.
  • Amortir les pulsations créées par les injections.
  • Relier les éléments du circuit haute pression.

  • Éléments reliés à la rampe d'injection commune haute pression carburant :
  • Canalisation d'alimentation haute pression carburant.
  • Canalisations d'alimentation des injecteurs diesel.
  • Sonde de température carburant.
  • Capteur haute pression carburant.


  • IMPERATIF : Respecter les couples de serrage de sécurité des éléments du circuit haute pression carburant ci-dessous, avec une clé dynamométrique périodiquement contrôlée.

    Injecteurs diesel.

    Capteur haute pression carburant.

    Canalisations haute pression carburant.

    9.2 - Description.

    Fig : B1HP10WC

    Fig : B1HP10WC

    (5) rampe d'injection commune haute pression carburant.

    (6) sonde de température carburant.

    (7) capteur haute pression carburant.

    l :sorties vers les injecteurs diesel.

    m :alimentation en haute pression carburant.


    NOTA : La rampe d'injection commune haute pression carburant est en acier forgé.

    Le volume de la rampe d'injection commune haute pression carburant est adapté à la cylindrée du moteur.

    9.3 - Implantation.

    La rampe d'injection commune placée entre la pompe haute pression et les injecteurs diesel est rapportée sur la culasse.

    10 - Injecteurs diesel (1131, 1132, 1133, 1134) (1131, 1132, 1133, 1134)

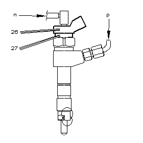
    Fig : B1HP10XC

    Fig : B1HP10XC

    (26) connecteur de l'électrovanne de l'injecteur diesel.

    (27) électrovanne de commande de l'injecteur diesel.

    n :circuit retour réservoir.

    p :alimentation en haute pression carburant. (rampe d'injection commune haute pression carburant).

    Les injecteurs diesel sont commandés électriquement par le calculateur d'injection.

    Les injecteurs diesel sont constitués de 2 parties :
  • Une partie commande électrique.
  • Une partie pulvérisation de carburant.

  • Les injecteurs diesel injectent le carburant nécessaire au fonctionnement du moteur.

    Les injecteurs diesel comportent 5 trous, qui permettent de favoriser le mélange air/carburant.

    La quantité de carburant injectée dépend des paramètres suivants :
  • Durée de la commande électrique(calculateur d'injection).
  • Vitesse d'ouverture de l'injecteur diesel.
  • Débit hydraulique de l'injecteur diesel (nombre et diamètre des trous).
  • Pression de carburant dans la rampe d'injection commune haute pression carburant.

  • Le carburant peut être injecté dans les cas suivants :
  • Préinjection.
  • Injection principale.
  • Postinjection.

  • Les injecteurs diesel sont reliés entre eux par le circuit retour carburant.

    Pression de carburant dans le circuit de retour : ð 0,7 bars.

    11 - Refroidisseur de carburant

    11.1 - Rôle.

    La pompe haute pression lamine le carburant provenant de la pompe de gavage ce qui élève la température du carburant.

    Le refroidisseur de carburant refroidit le carburant lors du retour au réservoir carburant.

    11.2 - Description.

    Le refroidisseur de carburant est constitué d'un serpentin métallique qui favorise l'échange thermique entre le carburant et l'air.

    11.3 - Implantation.

    Le refroidisseur de carburant est fixé sous la carrosserie.