FONCTION : :RECYCLAGE DES GAZ D'ÉCHAPPEMENT :

POUR 1CN6 ET DVY01 ET B0F2X ET DEPUIS O 8211 OU JUSQU'A O 8687 OU

POUR 1CN7 ET DVY01 ET B0F2X ET DEPUIS O 8688 OU

POUR 1CN8 ET DVY01 ET B0F2X ET DEPUIS O 8365 OU

POUR 1CU6 ET DVY01 ET B0F7C ET DEPUIS O 8276 OU

POUR 1CX4 ET DVY01 ET B0F7C ET DEPUIS O 8688 OU

POUR 1CX4 ET DVY01 ET B0F2X ET DEPUIS O 8688 OU

POUR 1C2X ET DVY01 ET B0F7C ET DEPUIS O 8001 OU

POUR 1C6N ET DVY01 ET B0F2X ET DEPUIS O 8365 OU

POUR 2CM4 ET DVY01 ET B0F2X ET DEPUIS O 8358 OU

POUR 2CU6 ET DVY01 ET B0F7C ET DEPUIS O 8421 OU

POUR 2CU6 ET DVY01 ET B0F7U ET DEPUIS O 8421


1 - Synoptique

Fig : B1HP10YP

Fig : B1HP10YP

Circulation d'air (suivant flèches) :
  • A :Air.
  • B :Gaz d'échappement +Air.
  • C :Gaz d'échappement.


  • ATTENTION : Le synoptique concerne les moteurs avec turbocompresseur piloté (calculateur d'injection + électrovanne).
    Repère Désignation Numéro de pièce dans les schémas électriques Observations
    1 Calculateur d'injection 1320  
    2 Électrovanne de régulation de recyclage (E.G.R) 1253  
    3 Pompe à vide    
    4 Électrovanne de régulation de pression de suralimentation 1233 Suivant version
    5 Vanne de recyclage des gaz d'échappement (E.G.R)    
    6 Répartiteur d'admission d'air    
    7 Collecteur des gaz d'échappement    
    8 Soupape régulatrice de pression de suralimentation   Commande par dépression
    9 Capsule pneumatique de commande de la soupape régulatrice (sur turbocompresseur)   Commande par dépression
    10 Pot catalytique    
    11 Turbine d'échappement    
    12 Turbocompresseur    
    13 Turbine d'admission d'air    
    14 Débitmètre d'air +. sonde de température d'air 1310  
    15 Filtre à air    
    16 Capteur de pression tubulure d'admission 1312  
    17 Échangeur thermique air/air   Suivant version
    18 Capteur de pression atmosphérique (intégré au calculateur d'injection) 1320  

    NOTA : E.G.R : dispositif de recyclage des gaz d'échappement.

    2 - Débitmètre d'air (1310) (1310)

    2.1 - Rôle.

    Le débitmètre d'air mesure le débit d'air frais admis par le moteur.

    Rôle du calculateur d'injection en fonction de l'information reçue :
  • Déterminer le taux de recyclage des gaz d'échappement.
  • Limiter la formation des fumées pendant les phases transitoires (accélération, décélération) par correction du débit carburant.

  • 2.2 - Description.

    Fig : B1HP115D

    Fig : B1HP115D

    (19) connecteur électrique.

    (20) grille de protection.

    (21) plaque métallique (film chaud).

    (22) sonde de température d'air.

    Le débitmètre d'air se compose des éléments suivants :
  • Plaque métallique (film chaud).
  • Sonde de température d'air.

  • La plaque métallique est très fine et permet de déterminer la masse d'air entrant dans le circuit d'air.

    La plaque métallique se compose des éléments suivants :
  • Résistance de chauffage.
  • Résistance de mesure (CTN).

  • Le calculateur d'injection alimente la résistance de chauffage de façon à maintenir la plaque métallique à une température fixe.

    L'air passant dans le débitmètre refroidit la plaque métallique :la résistance de mesure (CTN) varie.

    Le calculateur associe la valeur de la résistance de mesure à un débit air.


    IMPERATIF : Ne pas toucher à la plaque métallique, l'utilisation d'une soufflette est proscrite.

    2.3 - Particularités électriques.

    Affectation des voies du connecteur :
  • Voie 1 :Information température d'air.
  • Voie 2 :Alimentation +12 volts.
  • Voie 3 :Masse.
  • Voie 4 :Voie inutilisée.
  • Voie 5 :Information débit d'air.
  • Voie 6 :Masse.

  • 2.4 - Implantation.

    Le débitmètre d'air est implanté entre le filtre à air et le turbocompresseur.

    3 - Pompe à vide

    La pompe à vide fournit la dépression nécessaire à la commande des éléments suivants :
  • Vanne de recyclage des gaz d'échappement (E.G.R)(suivant version).
  • Capsule pneumatique de commande de la vanne de recyclage des gaz d'échappement.
  • Amplificateur de freinage(suivant version).

  • 4 - Électrovanne de régulation de pression de suralimentation (1233) (1233)

    Véhicules concernés :véhicules avec pression de suralimentation pilotée par le calculateur d'injection.

    4.1 - Rôle.

    L'électrovanne de régulation commande la soupape régulatrice de pression de suralimentation.

    Rôle de la commande de l'électrovanne de régulation de pression de suralimentation :
  • Réguler la pression de suralimentation.
  • Limiter la pression de suralimentation.

  • La régulation de la pression de suralimentation est progressive et gérée par une cartographie (calculateur d'injection).

    4.2 - Description.

    L'électrovanne met en communication la pompe à vide et la capsule de la vanne de recyclage des gaz d'échappement.

    Fig : B1HP116C

    Fig : B1HP116C

    (23) connecteur électrique.

    a :sortie "utilisation".

    b :entrée dépression de la pompe à vide.

    c :marquage blanc.

    d :entrée pression atmosphérique.

    La commande de l'électrovanne est du type RCO (rapport cyclique d'ouverture).

    L'électrovanne proportionnelle commandée en tension RCO est reliée aux éléments suivants :
  • Pression atmosphérique.
  • Dépression fournie par la pompe à vide.

  • La pression fournie par l'électrovanne est comprise entre la pression atmosphérique et la dépression de la pompe à vide.

    4.3 - Particularités électriques.

    Commande :calculateur d'injection. (masse).

    Commande à tension variable (RCO) :
  • Pleine alimentation (RCO maximum) =Dépression maximale.
  • Pas d'alimentation (RCO minimum) =Pas de dépression (pression atmosphérique).
  • Résistance à 25 °C = 5 ohms.


  • NOTA : RCO : Rapport Cyclique d'Ouverture.

    4.4 - Implantation.

    Fig : B1HP117C

    Fig : B1HP117C

    (2) électrovanne de régulation de pression de suralimentation.

    L'électrovanne est implantée dans le compartiment moteur.

    5 - Vanne de recyclage des gaz d'échappement (E.G.R)

    5.1 - Rôle.

    La vanne de recyclage des gaz d'échappement contrôle la quantité de gaz d'échappement recyclé.

    Le dispositif de recyclage des gaz d'échappement (E.G.R) permet de diminuer la quantité d'oxyde d'azote (NOx) rejetée par l'échappement.

    La diminution des oxydes d'azote est effectuée en réinjectant une partie des gaz d'échappement dans les cylindres.

    Les phases de recyclage sont mémorisées dans des cartographies du calculateur d'injection.

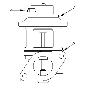
    5.2 - Description.

    Fig : B1KP00PC

    Fig : B1KP00PC

    e :entrée dépression. (électrovanne de régulation de recyclage des gaz).

    f :capsule pneumatique de commande de la vanne de recyclage des gaz d'échappement.

    (5) vanne de recyclage des gaz d'échappement (E.G.R).


    ATTENTION : La vanne de recyclage des gaz est fermée lorsqu'elle n'est pas commandée pneumatiquement (dépression).
    Phases de fonctionnement lorsque la capsule pneumatique de commande est alimentée en dépression :
  • La vanne de recyclage des gaz s'ouvre.
  • Une partie des gaz d'échappement est absorbée par le moteur(répartiteur d'admission d'air).

  • 5.3 - Implantation.

    La vanne de recyclage est implantée sur le collecteur d'échappement.

    6 - Pot catalytique

    Le pot précatalytique est équipé d'un catalyseur 2 voies.

    Le pot catalytique (disposé sur la ligne d'échappement) permet la diminution de rejet dans l'atmosphère des composants suivants :
  • Monoxyde de carbone (CO).
  • Hydrocarbures imbrûlés (HC).

  • La postinjection associée à un catalyseur spécifique permet de réduire, en plus des autres polluants, le taux d'oxyde d'azote (catalyseur 4 voies).